Biuletyn Urzędu Patentowego 2009
Ogłoszenia o zgłoszonych w Polsce wynalazkach do opatentowania i wzorach użytkowych do ochrony z dziedziny geodezji i kartografii i z dziedzin pokrewnych
	Od dnia ogłoszenia o zgłoszeniu wynalazku i wzoru użytkowego w Biuletynie Urzędu Patentowego RP osoby trzecie
	mogą zapoznać się z opisem zgłoszeniowym i przekazać do Urzędu Patentowego RP do czasu wydania decyzji w sprawie udzielenia ochrony uwagi co do istnienia okoliczności uniemożliwiających jej udzielenie (art. 44.1. ustawy "Prawo własności przemysłowej" z dnia 30 czerwca 2000 r., z późniejszymi zmianami).
Biuletyn Urzędu Patentowego nr 22 z 26 października 2009 r.
Mapa laminowana
	
Nr i data zgłoszenia wynalazku: 384962 z dnia 2008 04 18
	Międzynarodowa Klasyfikacja Patentowa (MKP): G09B 29/04 (2006.01), G09F 1/04 (2006.01), B42D 15/00 (2006.01)
	Zgłaszający: DEMART S.A., Warszawa
	Twórca: Dylak Rafał
Skrót opisu
Przedmiotem wynalazku jest mapa laminowana w formie dwustronnie zadrukowanego arkusza papieru, obustronnie pokrytego folią, z łamami pionowymi i poziomymi, cechująca się tym, że ma łamy o zmiennej szerokości oraz stałe sztancowanie (2) pomiędzy łamami pionowymi i zmienne sztancowanie (4) pomiędzy łamami poziomymi, a przy tym jest pokryta folią z tworzywa sztucznego o grubości nie większej niż 30 μ. Korzystnie mapa ta jest pokryta folią poliestrową lub polipropylenową. Dzięki połączeniu łamów okładkowych (1) łącznikiem (3) na całej ich szerokości, tworzącym bigowanie grzbietu, a dodatkowo braku sztancowania na krawędzi ostatniego łamu, a także dzięki zmniejszającej się wielkości sztancowania (4) między łamami poziomymi od strony łamów okładkowych w kierunku łamów wewnętrznych, gdzie wielkość ta zmienia się skokowo przy przejściu z łamu na łam o podwójną grubość papieru i poczwórną grubość folii, mapa według wynalazku wygodnie składa się, bez tak zwanego puchnącego grzbietu. Równocześnie, zachowując zgodnie z wynalazkiem szerokość łamów okładkowych (i) większą od szerokości łamów bezpośrednio z nimi sąsiadujących, która z kolei jest większa od szerokości pozostałych łamów podstawowych, w mapie według wynalazku możliwe jest właściwe „chowanie się” łamów wewnętrznych w okładkę.
(6 zastrzeżeń)
Biuletyn Urzędu Patentowego nr 16 z 3 sierpnia 2009 r.
Przyrząd do sygnalizowania osi główki szyny
	
Nr i data zgłoszenia wzoru użytkowego: 117252 z dnia 2008 01 28
	Międzynarodowa Klasyfikacja Patentowa (MKP): G01C 15/00 (2006.01);
	E01B 35/00 (2006.01)
	Zgłaszający: Politechnika Opolska, Opole
	Twórca: Anigacz Wojciech
Skrót opisu
Przyrząd do sygnalizowania osi główki szyny charakteryzuje się tym, że oś każdej z rolek (3) zaopatrzona jest w element w kształcie ściętego stożka (4), obracającego się po dolnej powierzchni główki szyny, niezależnie od obrotów rolki (3).
(1 zastrzeżenie)
Biuletyn Urzędu Patentowego nr 13 z 22 czerwca 2009 r.
Przyrząd do wykonywania pomiarów topograficznych
	
Nr i data zgłoszenia wynalazku: 384021 z dnia 2007 12 11
	Międzynarodowa Klasyfikacja Patentowa (MKP): G01C 1/00 (2006.01);
	G01C 15/00 (2006.01); G09B 29/10 (2006.01)
	Zgłaszający: Woliwoda Joanna, Praszka; Woliwoda Jarosław, Praszka
	Twórca: Woliwoda Joanna, Woliwoda Jarosław
Skrót opisu
Przedmiotem wynalazku jest przyrząd do wykonywania pomiarów topograficznych, między innymi takich jak: wyznaczania kątów, określania odległości i współrzędnych punktów na mapie, pomiaru kątów nachylenia stoków, płaszczyzn i przedmiotów w terenie. Przyrząd posiada korpus (1), który stanowi płaska, środkowo symetryczna figura geometryczna, wykonana z przezroczystego materiału, na której środkowo symetrycznie umieszczone są dwie proste (2, 3) z odpowiednio naniesionym na ich końcach (4) układem kierunków geograficznych, krzyżujące się pod kątem prostym, oraz utworzona z odpowiednio równoległych do prostych (2, 3), oddalonych od siebie w pewnych odległościach linii pionowych (5) i poziomych (6), prostokątna siatka. Na brzegach korpusu (1) umieszczona jest obwodowo co najmniej jedna kątowa podziałka (7), zaś wewnątrz znajduje się co najmniej jeden układ, utworzony z co najmniej dwóch jednakowych podziałek (8), wychodzących z jednego wspólnego zerowego punktu (9), usytuowanych prostopadle do siebie. W punkcie krzyżowania się prostych (2, 3) znajduje się przelotowy otwór (10).
(3 zastrzeżenia)
Biuletyn Urzędu Patentowego nr 11 z 25 maja 2009 r.
Sposób wyznaczania położenia plamki laserowej w przestrzeni
	
Nr i data zgłoszenia wynalazku: 383843 z dnia 2007 11 21
	Międzynarodowa Klasyfikacja Patentowa (MKP): G01C 3/10 (2006.01),
	G01S 17/46 (2006.01)
	Zgłaszający: Główny Instytut Górnictwa, Katowice
	Twórca: Bochenek Wojciech, Smoła Tadeusz, Szade Adam, Szot Mariusz
Skrót opisu
Sposób polega na fotooptycznej lokalizacji położenia plamki laserowej względem środka kartezjańskiego układu odniesienia, który stanowi powierzchnia matówki (1). Obraz plamki laserowej z powierzchni matówki (1) rzutuje się obiektywem (4) na powierzchnię matrycy (3) i rejestruje cyfrowo zmianę sygnałów wyjściowych z jej kanałów pomiarowych, wywołaną przesuwaniem się plamki.
(1 zastrzeżenie)
Układ badania parametrów geometrii torów prowadzenia naczyń wyciągowych
	
Nr i data zgłoszenia wynalazku: 383842 z dnia 2007 11 21
	Międzynarodowa Klasyfikacja Patentowa (MKP): G01N 33/00 (2006.01); G01N 21/01 (2006.01); G01C 15/10 (2006.01)
	Zgłaszający: Główny Instytut Górnictwa, Katowice
	Twórca: Bochenek Wojciech, Smoła Tadeusz, Szade Adam, Szot Mariusz
Skrót opisu
Układ ma laserowy pionownik (1) z nadawczym zespołem (2) i laserowym czujnikiem (3) wychyleń laserowego pionu (4), połączony z prowadnikiem (5) naczynia wyciągowego, oraz ma zabudowany na szybowej klatce (8) tego naczynia detekcyjny zespół (9) z czujnikami (10) kontroli jego położenia względem prowadnika (5). Detekcyjny zespół (9) zawiera wielkogabarytową matówkę (11) i system analizy położenia na niej plamki laserowego pionu (4), składający się z umieszczonego pod matówką (11) obiektywu (12) i matrycy (13), połączonej z cyfrowym rejestratorem (14) danych pomiarowych.
(1 zastrzeżenie)
Biuletyn Urzędu Patentowego nr 10 z 11 maja 2009 r.
Urządzenie do pomiarów profili wyrobisk górniczych
	
Nr i data zgłoszenia wzoru użytkowego: 117087 z dnia 2007 10 30
	Międzynarodowa Klasyfikacja Patentowa (MKP): E21B 47/09 (2006.01),
	G01C 5/00 (2006.01)
	Zgłaszający: Akademia Górniczo-Hutnicza im. Stanisława Staszica, Kraków
	Twórca: Jaśkowski Wojciech, Jóźwik Mieczysław
Skrót opisu
Urządzenie do pomiarów profili wyrobisk górniczych, wykorzystujące dalmierz laserowy, posiada dalmierz laserowy (1), zamocowany na osi silnika krokowego (2), umieszczony na ramieniu (3), które za pomocą śruby (4) przymocowane jest do podstawy (5) z bolcem (6), umożliwiającym wstawienie zestawu do spodarki geodezyjnej, silnik krokowy (2) połączony jest przewodem (7) z modułem sterująco-zasilającym (8), który jest dalej połączony przewodem (9) lub łączem Bluetooth z komputerem przenośnym (10).
(1 zastrzeżenie ochronne)
Biuletyn Urzędu Patentowego nr 8 z 10 grudnia 2009 r.
Urządzenie laserowe do pomiaru przemieszczeń drutu wahadła
	
Nr i data zgłoszenia wynalazku: 383465 z dnia 2007 10 01 
	Międzynarodowa Klasyfikacja Patentowa (MKP): G01C 9/06 (2006.01),
	G01C 9/12 (2006.01), G01C 15/10 (2006.01)
	Zgłaszający: Instytut Geodezji i Kartografii, Warszawa; Olbrysz Piotr i Olbrysz Michał OLBRYSZ Electronics S.C., Warszawa
	Twórcy: Kołodziejczyk Mieczysław, Olbrysz Piotr
Skrót opisu
Urządzenie laserowe do pomiaru przemieszczeń drutu wahadła, przeznaczone do kontroli odchyleń od pionu wysokich obiektów zwłaszcza obiektów hydrotechnicznych jest wyposażone w laserowe źródło światła, element odbijający w postaci wirującego lustra, dwa detektory znaczników i dwa detektory odbiorcze zamknięte we wspólnej obudowie. Wyemitowana przez laserowe źródło światła (1) wiązka odbija się od wirującego lustra (2)i pada na detektory znaczników (5) i (5’), które generują impulsy elektryczne, natomiast wiązka odbita od drutu (7) wahadła pada na detektory odbiorcze (6) i (6’), które również wzbudzają impulsy elektryczne. Różnice czasowe w odbiorze impulsów elektrycznych wygenerowanych przez detektory znaczników i detektory odbiorcze są funkcją kątowych przemieszczeń drutu wahadła. Urządzenie jest instalowane na obiekcie w taki sposób, aby drut (7) wahadła znajdował się między dwiema prostymi przecinającymi się w osi obrotu elementu odbijającego (2) i przechodzącymi przez pierwszy (5) i drugi (5’) detektor znaczników.
(2 zastrzeżenia patentowe)
Biuletyn Urzędu Patentowego nr 1 z 5 stycznia 2009 r.
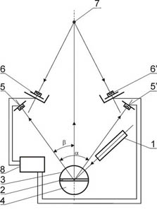
Laserowy autonomiczny system pomiarowy
	Nr i data zgłoszenia wynalazku: 382727 z dnia 2007 06 22
	Międzynarodowa Klasyfikacja Patentowa (MKP): G01C 11/00 (2006.01); G01C 15/00 (2006.01); G01C 19/66 (2006.01)
	Zgłaszający: Galiński Jan Juliusz, Kowalski Henryk Zenon, Warszawa
	Twórca: Galiński Jan Juliusz, Kowalski Henryk Zenon
Skrót opisu
Przedmiotem wynalazku jest laserowy autonomiczny system pomiarowy, przeznaczony głównie do wyznaczania współrzędnych φpi λpi w układzie geocentrycznym punktu Pi związanego z bryłą Ziemi. Autonomiczność systemu pomiarowego (zdefiniowana jako brak konieczności komunikowania się systemu pomiarowego z zewnętrznym układem odniesienia) jest gwarantowana przez wykorzystanie zasady, że ruch obrotowy bryły z prędkością kątową Ω generuje w każdym punkcie bryły dwa wektory przestrzenne zaczepione w punkcie Pi, wektor rpi; wektor vspi (r reprezentuje odległość punktu Pi od osi obrotu OO΄ bryły); vspj jest wektorem stycznym ruchu punktu Pi w ruchu obrotowym bryły. Parametry metrologiczne systemu pomiarowego i działanie systemu w środowisku pomiarowym (woda, powietrze, górotwór, kosmos) czynią, że system pomiarowy według wynalazku jest alternatywą dla każdego współczesnego systemu wyznaczania współrzędnych punktu Pi związanego z bryłą Ziemi - dokładność pomiaru systemu jest o kilka rzędów dokładności lepsza niż systemu GPS. System pomiarowy może znaleźć zastosowanie w badaniach geofizycznych Ziemi: - badanie osi obrotu OO΄; środka masy OO bryły Ziemi, - wyznaczanie rzeczywistego kształtu bryły Ziemi, - pomiary ruchu obrotowego bryły Ziemi (wartości chwilowych), badanie trzęsień Ziemi.
(9 zastrzeżeń)
